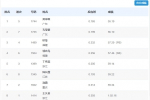
体育资讯11月17日讯 全运会田径女子400米栏决赛,莫家蝶以55秒19的成绩夺得金牌,孔莹蓥获得银牌,欧莹获得铜牌。
女子400米栏决赛成绩详情如下:
1 莫家蝶 55.19
2 孔莹蓥 56.10
3 欧莹 57.29(PB)
4 邹亦凡 57.46(SB)
5 丁依蕊 59.14
6 陆长薇 59.22
7 刘薇 59.34
8 王久香 1:02.16
上一篇: 陈妤颉小组第一晋级全运会女子100米决赛,决赛名单全部出炉
下一篇: 5金18岁张展硕夺男子1500米自由泳金牌,横扫5枚自由泳金牌
太阳篮网今日赛事
博德闪耀摩纳哥今日比赛直播
NBA鹈鹕vs篮网直播
诺丁汉森林联赛冠军
热刺主场迎战切尔西
国际米兰vs斯拉维亚
欧冠国际米兰vs阿拉木图凯拉特直播
法甲昂热vs巴黎FC